Gesse 0 Postad 23 Januari , 2008 Det räcker gott och väl med ett billigare filter. Filtret ska du helst byta en gång om året. Dessa går väl inte att göra rent så det är bara att sätta dit ett nytt per säsong. Det finns på de flesta marinor ett filter som är till Johnson motorer. Det kan jag rekommendera. Dela detta inlägg Länk till inlägg Dela på andra webbplatser
elektro1 0 Postad 19 Februari , 2008 Hejsan igen. Nu har jag införskaffat ett bllligt filter, 14:- på biltema. Har i helgen installerat både flödesmätaren och bränslefiltret samt dragit alla kablar. Inget märkvärdigt alls får jag säga att montera dit grejerna. Nu ska det bli intressant att se hur allt funkar när jag lägger båten isjön och kopplar ihop det med ekolodet via NMEA kontakten. Tack för all hjälp. Dela detta inlägg Länk till inlägg Dela på andra webbplatser
Gesse 0 Postad 19 Februari , 2008 Hej. Kul att det gick bra. Skriv gärna igen efter sjösättning och test och berätta vad du tycker om flödesmätaren. Bra att ha lite koll på flödet. Dela detta inlägg Länk till inlägg Dela på andra webbplatser
Sturgeon 1 Postad 19 Februari , 2008 Har beställt ett dylikt motorinterface mellan min zuke och Lowrance 27C. Tror det skall bli användbart! Dela detta inlägg Länk till inlägg Dela på andra webbplatser
2HOT4U 3 Postad 5 Maj , 2008 läst att man måste ha adapter till motorkabeln för att den ska passa suzuki 2008 - om man kör med Lowrance egna mätare måste man då ha extra ström genom T-kopplingen? Dela detta inlägg Länk till inlägg Dela på andra webbplatser
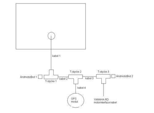
Patric78 0 Postad 7 Maj , 2008 Hej Påväg att inhandla Lowrance 5200 med extern gps antenn samt motorinterface till Yamaha 115 , kabel YAMAHA-RD. Vilka T stycken samt ändmotstånd samt kablar medföljer? Kolla bilden jag ritat och kommentera, enligt numrerade. Plotter kommer jag att köpa från ett ställe och resten troligen från ett annat så därför skulle jag behöva lite hjälp. Dela detta inlägg Länk till inlägg Dela på andra webbplatser
ThomasS 0 Postad 7 Maj , 2008 Hej Bara som en liten upplysning: Jag håller precis nu på och installerar till min Suzuki, har en Lowrance LMS-527, intern antenn. När jag packade upp mitt paket med interfacet igår så var det själva interfacekabeln och ett enkelt T-stycke med, inget motstånd. Kollade upp detta idag och fick följande besked: Navpoint har precis uppdaterat hårdvaran, så för mig som bara kopplar interfacet till GPS:en behövs inget T-stycke eller motstånd längre, motståndet är inbyggt i kablarna numer. Däremot hade dom inte hunnit uppdatera manualen...... Så kolla innan du beställer, nu har ju du Yamma, men ring killen på Navpoint, tel numret står i ett inlägg längre upp i den här tråden, han är bra på detta! //Thomas Ps! Gesse, var sjutton drog du ut kabeln från motorn? Kan man plocka in tryckloggslangen som hänger som en blindtarm idag genom gummibussningen, och dra kabeln där istället?? Dela detta inlägg Länk till inlägg Dela på andra webbplatser
Gesse 0 Postad 7 Maj , 2008 Jag drog kablarna samma väg som alla andra från motorn. Smidigt att få alla kablar på ett ställe. Tryckloggslangen vet jag inget om. Edit. Aha. Nu kom jag på vad du menar med den slangen. Men det går nog inte för kontakten på interfacekabeln är säkert mycket för stor. Senast ändrad av Gesse | 07 maj 2008 | 17:41 Dela detta inlägg Länk till inlägg Dela på andra webbplatser
ThomasS 0 Postad 7 Maj , 2008 OK! Jag har inte kollat riktigt än, men undrar om inte gummibussningen är delad, snittad, även där loggen går ut, måste kolla det. I så fall skulle det ju gå att bara lägga in interfacekabeln i det snittet. //T. Dela detta inlägg Länk till inlägg Dela på andra webbplatser
2HOT4U 3 Postad 7 Maj , 2008 vad har T-kopplingen för funktion? kan man inte ta interface kabeln direkt till skärmen? finns LMF400 med röda kontakt eller är det bara blå som kommer ut från den sen får man bygga vidare med den röda? Dela detta inlägg Länk till inlägg Dela på andra webbplatser
Gesse 0 Postad 7 Maj , 2008 T kopplingens funktion ses här på bilden. På den jag har är det blå kopplingar. Det har nu ändrats färg och på dessa vet jag inte hur det funkar. Bäst är att ringa Navpoint och fråga dom hur det ska vara. Jag tror att det borde gå att koppla direkt till skärmen utan T-koppling, men säkrast är att höra med Navpoint om det med. Dela detta inlägg Länk till inlägg Dela på andra webbplatser
ThomasS 0 Postad 7 Maj , 2008 Kolla mitt inlägg ovan. Tydligen ska det vara nya kablar nu som är märkta med 120 på själva kopplingarna, dom ersätter alltså motstånden, dom kan man dra direkt till skärmen utan T-kopplingar. Men som Gesse säger, kolla med Navpoint, det är alldeles nytt. //T. Dela detta inlägg Länk till inlägg Dela på andra webbplatser
2HOT4U 3 Postad 8 Maj , 2008 Nu har mina kablar kommit till min Suzuki DF50 2008 leta säkert efter kontakterna 1tim innan min bryggkompis fråga om jag hade tittat under pulpeten efter som jag har tillt o varvräknare självklart satt båda kontakterna där så man slipper dra från motorn men min fråga är efter som dom har gjort om kontakterna på DF 2008 var jag tvungen att köpa adapter oxå så den runda interface kontakten från interface kabeln blir till fyrkantig kontakt med 3kablar den runda kontakten har 7kablar varför har 7kablar blivit 3 visar den ändå lika mycket info? allt ska kopplas ihop med Lowrance LMF-400 får den motor timmarna från när man kopplar in eller får man timmarna som har gått innan oxå? jag har 25L löstank kommer den att visa hur mkt bensin det är kvar då? får man skriva att man har 25L sen räknar den ut hur mkt det är kvar genom förbrukningen? eller måsta man ha givare i tanken Senast ändrad av 2HOT4U | 08 maj 2008 | 19:52 Dela detta inlägg Länk till inlägg Dela på andra webbplatser
Gesse 0 Postad 8 Maj , 2008 Den kontakten är till för att verkstaden ska kunna koppla in sitt testinstrument. Dom får upp antal körda timmar m.m m.m. Det får du också. (fast inte all information som verkstaden får) Alltså får du upp antal timmar sen motorn var ny. Sen det där med bensinmängd får du knappa in själv så det behövs ingen givare. När du tankar måste du antingen knappa in Fill Tank eller antal liter du fyller på. Har du 25 liters tank och tankar fullt klickar du Fill Tank och interfacet visar full tank på 25 liter. Fyller du däremot på t.ex 10 liter klickar du in på ett ställe 10 liter och klickar sedan på Add Fuel och interfacet plussar på antal liter med 10. Att du enbart har 3 kablar kan bero på att det skiljer på vilken storlek på motor man har och därmed vilka funktioner man får. Alla motorer ger inte samma funktioner konstigt nog. Dela detta inlägg Länk till inlägg Dela på andra webbplatser
2HOT4U 3 Postad 8 Maj , 2008 tackar för mkt bra info dum fråga hur vet den att det är 25L tank får man säga till att det är en 25L tank jag har så den visar rätt eller visar den bara hur många liter man har kört sen får man dra av det från 25L jag har båda varvräknare och tiltvisare men jag måste koppla bort båda och tabort varvräknaren helt för att stoppa dit LMF400 så tiltvisare kommer inte att ha någon funktion vad tror du om att köpa en LMF200 oxå så får man två mätare av samma utseende sen kan man kanske ha två olika visningar samtidigt måste man ha T-koppling för varje grej man kopplar alltså foten på T ska kopplas till varje grej ? kan jag koppla som på bild 2 och 3 om jag skaffar LMF200 eller är bild 1 o 4 som är rätta kopplingen http://www.saab4fun.com/upload/uppladd/11239lmf.JPG Senast ändrad av 2HOT4U | 08 maj 2008 | 21:16 Dela detta inlägg Länk till inlägg Dela på andra webbplatser
Sturgeon 1 Postad 9 Maj , 2008 Var ute och sjösatte båten igår och testkörde den nya suzukin DF 150, så tyst den var, helt otroligt. Däremot fick jag inte bränsleförbrukningen att fungera. Den visar många gånger för mycket. Vid marchfart visad den 60-70 liter/timme (28 kn) och på tomgång där också vilket skulle innebära att den drar 2 liter sjömilen i march, vilket jag inte hoppas på=) Vad kan vara galet. jag skall ha senaste versionen av mjukvara i plottern. Kan den behöva nollställas för att den skall acceptera tillägget av motorinterface. Jag har förövrigt extern antenn som kopplats på grann T-kopplingen. Kan motstånden ha något med det hela att göra, finns om jag inte mins fel flera olika kraftiga motstånd. Mätaren visar varvtal, motortimmar, spänning osv på ett korrekt sätt, så signalen i övrigt verkar fungera. Däremot har jag inte lyckats få upp motortemp/tryck. Modell är Lowrance LCX 27C 2007 års modell, Suzuki DF 150 2007 års modell. /K Dela detta inlägg Länk till inlägg Dela på andra webbplatser
perpro 0 Postad 9 Maj , 2008 Kör en reset calibration eller vad det heter och se om det hjälper Dela detta inlägg Länk till inlägg Dela på andra webbplatser
Sturgeon 1 Postad 9 Maj , 2008 Jag pratade med Navpoint, och han förordade samma tillvägagångssätt. Sedan sa han att själva interfacet och plottern gör inget annat än att visa de värden som motorn skickar. Dela detta inlägg Länk till inlägg Dela på andra webbplatser
Gesse 0 Postad 9 Maj , 2008 Ja, du får knappa in hur stor tank du har. I detta fall alltså 25 liter. Själv har jag knappat in 120 liters tank och sen räknar den ner hur mycket som gått åt samt hur mycket bränsle det går åt just för stunden samt hur mycket bränsla det finns kvar i tanken. Går också att se hur många sjömil du kan åka per liter bränsle. Tiltkontakten ska gå att koppla bort och istället ska man kunna få tiltmätare på instrumentet istället. Detta har jag själv inte provar utan kör med original trimmätaren. Efter vad jag har förstått har du i stort sett samma funktioner i LMF 200/400 som i interfacet. Dessa mätare passar i så fall bäst på passagerarsidan om man vill ha dessa funktioner synliga där. Men till dessa går det nog bara att koppla in flödesmätaren EP-10. http://www.navpoint.se/PDF_files/Lowrance/2006/lmf_200.pdf Kolla detta med Navpoint. Du behöver en T-koppling till varje extra sak du kopplar in. Dela detta inlägg Länk till inlägg Dela på andra webbplatser
2HOT4U 3 Postad 9 Maj , 2008 dom ska kopplas till förarsidan efter dom finns redan två mätare där dom ska bort onödigt att göra två hål till, tiltmätaren måste jag koppla bort för att få den till LMF400 eller LMF200 men om jag kopplar Suzuki interface ihop med LMF 200 och 400 får jag inte då bränsle info? menar du att jag måste ha EP-10 för att få info om förbrukningen? eller vad menar du? Dela detta inlägg Länk till inlägg Dela på andra webbplatser
Gesse 0 Postad 9 Maj , 2008 Det är detta jag är lite osäker på men enligt länken ovan om LMF 200/400 så står det att om man vill ha dessa mätare som bränslemätare ska man köpa till EP-10. Kolla upp detta med Navpoint innan du köper mätarna. Dela detta inlägg Länk till inlägg Dela på andra webbplatser
Oxygen 3 Postad 9 Maj , 2008 Dessa produkter kan även användas som rena bränslemätare. Man köper då önskat instrument tillsammans med en flödesmätare EP-10. Jag skulle tolka detta och informationen om LowranceNET som att dessa kan kopplas in i ett LowranceNET med alla dess sensorer och givare, ELLER enbart tillsammans med EP-10 för att få bränsleinformation. Dela detta inlägg Länk till inlägg Dela på andra webbplatser
2HOT4U 3 Postad 9 Maj , 2008 konstigt måste kolla upp det på måndag men vad har man då för nytta av EP-20 Motor-interface är det bara timmar och varvtal den visar då eller ? jag skulle tippa att EP-10 är till för alla andra motorer som inte har NMEA2000 Senast ändrad av 2HOT4U | 09 maj 2008 | 22:26 Dela detta inlägg Länk till inlägg Dela på andra webbplatser
2HOT4U 3 Postad 12 Maj , 2008 prata med Navpoint idag det räcker med motor interface för att få ut all info man behöver om förbrukningen spridarna har koll på det sa dom Dela detta inlägg Länk till inlägg Dela på andra webbplatser
2HOT4U 3 Postad 16 Maj , 2008 Hjäälp hämta ut LMF400 idag o koppla den med suzuki interface men fick ingenting att fungera När jag trycker på Bus Device hittar den ingenting har 2st T-koppling 1st Ström kontakt 1st Motor interface 1st LMF400 mätare vad kan det va för fel? enligt Lowrance koppling ska det vara 3st T-kopplingar och 2st motstång en på varje sida men då går inte att stoppa i 12volts kabeln efter som kopplingen inte passar om man ska köpa den i toppen se bild http://www.saab4fun.com/upload/uppladd/30409lmf.JPG Senast ändrad av 2HOT4U | 17 maj 2008 | 00:19 Dela detta inlägg Länk till inlägg Dela på andra webbplatser
bejoh 0 Postad 17 Maj , 2008 Hej, har du en GPS-antenn på nätverket? Jag har ett vagt minne, efter mina tidigare efterforskningar, av att man ska ha ett motstånd per ansluten NMEA2000-enhet. Jag skulle prova att ta bort en T-koppling och ett motstånd, sen koppla interfacet där istället. Jag bifogar en bild på hur jag har kopplat. Det funkar för mig. Min plotter har inbyggd spänningsmatning av nätverket därför behöver jag inte nån separat spänningskabel. MVH Benny Dela detta inlägg Länk till inlägg Dela på andra webbplatser
2HOT4U 3 Postad 17 Maj , 2008 Hej Benny Motståndet jag har är 120Ohm har varken GPS-antenn eller Ekolod interfacet ska kopplas direkt till Lowrance LMF400 har 60cm kabeln någon funktion eller är det bara förlängning var kopplar man in strömmen som LMF400 ska ha efter som den inte har egen matning kanske där motståndet ska sitta ? funkar det här eller är motstånd ett måste?http://www.saab4fun.com/upload/uppladd/1895030409lmf.jpg Interface o LMF400 går att byta plats på men strömmen måste va där Senast ändrad av 2HOT4U | 17 maj 2008 | 20:59 Senast ändrad av 2HOT4U | 17 maj 2008 | 21:00 Dela detta inlägg Länk till inlägg Dela på andra webbplatser
bejoh 0 Postad 18 Maj , 2008 Hej 60cm kabeln är bara till för att göra en mjuk koppling mellan instrument och T-koppling samt komma igenom instrumentpanelen, bakom den sitter T-kopplingen och Resistorn. Vet inte om jag missförstod men du måste nog ha en resistor med i nätverket. Enligt Lowrance hemsida kopplas LMF400 enligt följande Vit - Belysning plus Svart - Belysning minus Blå - Summer plus Gul - Summer minus Vad gäller nätverket skulle jag prova att koppla så här. Motor Interface Eventuell förlängning T-koppling med spänningsmatning T-koppling med resistor Eventuell kort förlängning LMF400 Jag har gjort en snabbskiss (bifogas) Ta nu det här jag skriver som ett förslag, jag har bara utforskat det för min koppling men jag har nog läst det mesta via Lowrance Self Service-sida angående Lowrancenet, NMEA2000 och inkoppling av Suzuki-interfacet. MVH Benny Senast ändrad av bejoh | 18 maj 2008 | 10:52 Dela detta inlägg Länk till inlägg Dela på andra webbplatser
2HOT4U 3 Postad 22 Maj , 2008 KG knutsson teknikerna kan gå o hänga sig inte hjälpsamma för ett öre fixa allt själv o det fungerar Dela detta inlägg Länk till inlägg Dela på andra webbplatser
Gesse 0 Postad 4 Juni , 2008 Ni vet väl om att man kan flytta på overlaydatan och lägga dom precis var man vill på skärmen? Kan vara bra om man har en liten skärm så man inte får allt på samma kant. Här syns bl.a motortimmar längst ner till vänster och lokal tid längst ner till höger. Dela detta inlägg Länk till inlägg Dela på andra webbplatser